進入卡券后臺頁面。網站后臺>營銷類>輔助營銷>卡券》優惠券


一、 優惠券管理
1. 添加優惠券
點擊“優惠券管理”頁面的“添加”按鈕,進入“添加優惠券”頁面。



注意:領取條件這里,如果是免費領取,此優惠券則顯示在產品詳情頁,如下圖:

如果是使用積分兌換,需要在會員中心進入,積分商城---領取,此功能必須購買安裝積分商城應用


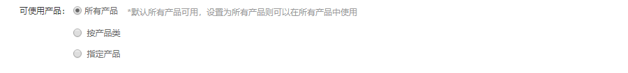
設置完基礎信息,就可以選擇“可使用產品”了,有3種方式:

①所有產品:
②按產品類:

③指定產品:

設置完成后點擊保存即可!
2、 編輯優惠券。
點擊“優惠券管理”列表中的“編輯”按鈕。進入“編輯優惠券”頁面,操作流程同“添加優惠券”。

二、優惠券贈送

選擇優惠券:

可以通過搜索會員賬號也可以通過直接選擇,選定會員號:

點擊保存即可:

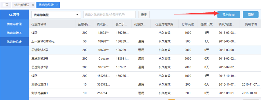
三、優惠券統計
1. 優惠券統計將統計優惠券的領取和使用情況。內容包括優惠券的基本信息以及領取/贈送時間,優惠券使用時間。

2. 點擊“導出Excel”,可將優惠券的統計導出為excel表格。

小米
會員評論